Apex Microtechnology VRE107 Low Drift Precision Voltage Reference
Apex Microtechnology VRE107 Low Drift Precision Voltage Reference provides an ultrastable +5V output with ±0.8mV initial accuracy and a 1.33ppm/°C temperature coefficient over the full military temperature range. Improved accuracy is possible by a multipoint laser compensation technique. Other improvements include initial accuracy, warm-up drift, line regulation, and long-term stability. These features make the VRE107 series more accurate and stable. The Apex Microtechnology VRE107 is available in two performance grades. These devices are packaged in a 14-pin hermetic ceramic package for maximum long-term stability. "M" versions are screened for high reliability and quality. Superior stability, accuracy, and quality make these references ideal for precision applications. These applications include A/D and D/A converters, high-accuracy test and measurement instrumentation, and transducer excitation.Features
- ±5 V output, ±0.8mV high accuracy
- 1.33ppm/°C (-55°C to +125°C) low drift
- 6ppm/1000 hours typical excellent stability
- 6ppm/V typical excellent line regulation
- ±13.5V to ±22V wide supply range
- Military processing option
Applications
- Precision A/D and D/A converters
- Transducer excitation
- Accurate comparator threshold reference
- High-resolution servo systems
- Digital voltmeters
- High-precision test and measurement instruments
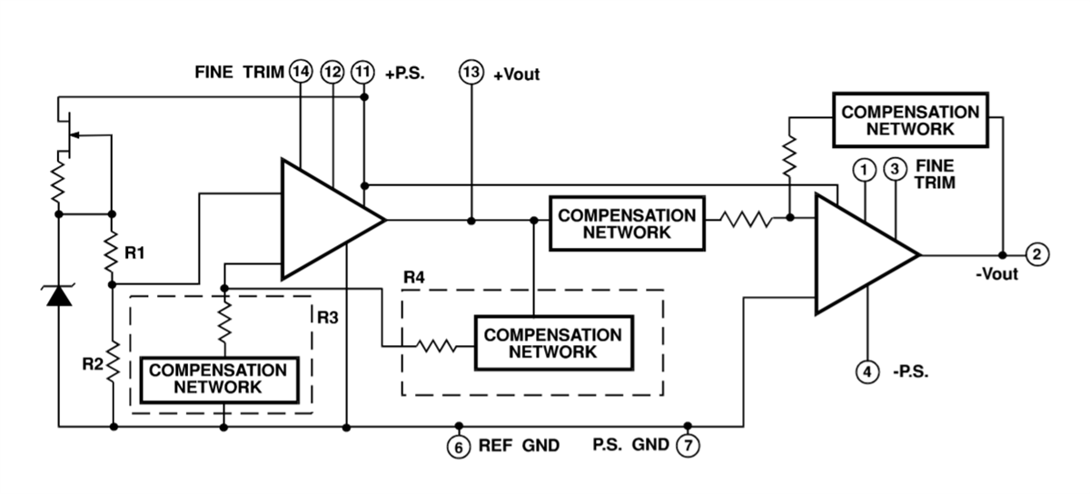
BLOCK DIAGRAM
Infographic
eBook
Opublikowano: 2020-08-24
| Zaktualizowano: 2024-04-08
